|
WGT接中間套鼓形齒式聯軸器
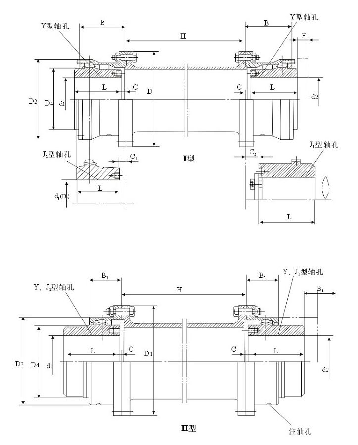
WGT接中間套鼓形齒式聯軸器屬于鼓形齒式聯軸器的一種簡稱“鼓齒聯軸器”,分為I型和II型兩種形式,WGT接中間套鼓形齒式聯軸器I型為帶壓蓋型,優點在于拆卸壓板即可檢驗、更換外齒;缺點是制作工序叫為復雜重量大價格高。WGT接中間套鼓形齒式聯軸器II型為不帶壓蓋型,優點是價格便宜。
WGT接中間套鼓形齒式聯軸器是齒式聯軸器的改進型,相對于直齒聯軸器來說可允許更大的角位移,可提升齒的接觸條件,提高傳遞轉矩的能力,延長使用壽命,具有角位移時沿齒寬的接觸狀態,由齒數相同的內齒圈和帶外齒的凸緣半聯軸器等零件組成。
WGT接中間套鼓形齒式聯軸器在工作時,兩軸產生相對角位移,內外齒的齒面周期性作軸向相對滑動,必然形成齒面磨損和功率消耗,因此,齒式聯軸器需在有良好和密封的狀態下工作。齒式聯軸器徑向尺寸小,承載能力大,常用于低速重載工況條件的軸系傳動,高精度并經動平衡的齒式聯軸器可用于高速傳動。
WG型--基本型;
WGP型--帶制動盤型,適用于與點盤式制動器配套;
WGZ型--帶制動輪型,適用于與瓦塊式制動器配套;
WGT型--接中間套型,適用于兩軸長距離聯接,許用轉速[n]取決于中間套的長度和質量,并應驗算臨界轉速;
WGC型--垂直安裝型,用于聯接垂直的兩軸線軸系傳動;
I型--密封端蓋為分離型,齒間距較大,可以允許較大的徑向位移,可與Y、J1、Z1型軸伸聯接;
![]() ![]() ![]() |




