|
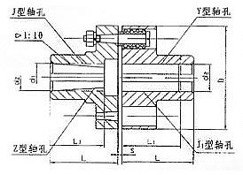
TL(LT)型彈性套柱銷聯軸器 特點及應用場合:具有補償兩軸線相對偏移和減振、緩沖性能,結構簡單,制造容易,不需潤滑,維修方便,徑向尺寸較大,適用于安裝底座剛性好,對中精度較高,沖擊載荷不大,對減振要求不高的軸系傳動,適用范圍廣泛,是我國早期通用標準聯軸器。不適用于高速和低速重載工況條件。
TL(LT)型--基本型;
TLL(LTZ)型--帶制動輪型;
![]()
TL(LT)型彈性套柱銷聯軸器參數及主要尺寸:(GB/T4323-84<2002>) mm
![]() |



